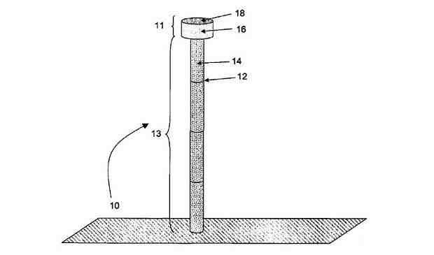
Με όνομα ThothX Tower, ο ανελκυστήρας είναι ουσιαστικά ένας κατακόρυφος «πύργος» ύψους 20 χιλιομέτρων, επιτρέποντας έτσι στους αστροναύτες και τον υπόλοιπο εξοπλισμό να μεταφέρονται στην κορυφή του, η οποία θα λειτουργεί ως βάση εκτόξευσης για διαστημόπλοια.

Σύμφωνα με την Thoth Technology, το γεγονός ότι η βάση εκτόξευσης θα βρίσκεται στα όρια της στρατόσφαιρας, και όχι στο έδαφος όπως συμβαίνει σήμερα, σημαίνει πως τα σκάφη θα χρειάζονται λιγότερη προωθητική ισχύ για να μεταφερθούν στο διάστημα. Κάτι που θα «μεταφράζεται» σε αρκετά μεγάλη μείωση του κόστους των διαστημικών πτήσεων, αφού με βάση την εταιρεία μόνο η εξοικονόμηση καυσίμων προβλέπεται να αγγίζει το 30%.

Η Thoth Technology κατοχύρωσε με πατέντα στις ΗΠΑ το σχέδιο του ThothX Tower πριν από λίγες ημέρες. Πίσω από αυτό το σχέδιο βρίσκεται ο Μπρένταν Κουίν, καθηγητής στο πανεπιστήμιο του Γιορκ και επικεφαλής του τεχνικού τμήματος της εταιρείας. Όπως εξηγεί ο ίδιος στο σάιτ της Thoth Technology:

«Οι αστροναύτες θα φτάνουν στο πάνω μέρος μέσα σε ηλεκτροκίνητες κάψουλες. Τα διαστημόπλοια θα εκτοξεύονται από την κορυφή του πύργου, ενώ θα επιστρέφουν σε αυτήν όποτε χρειάζεται να ανεφοδιασθούν σε καύσιμα».

Η ιδέα των διαστημικών ανελκυστήρων δεν είναι καινούρια – μάλιστα, μία ανάλογη εγκατάσταση περιέγραφε ήδη από το 1979 ο συγγραφέας βιβλίων επιστημονικής φαντασίας Άρθουρ Κλαρκ, στο έργο του «Οι πηγές του Παραδείσου». Ένα από τα σημαντικότερα προβλήματα για να γίνουν πραγματικότητα αφορά τον τρόπο κατασκευής τους, ώστε να μπορούν να παραμένουν στη θέση τους παρά το πολύ μεγάλο ύψος που θα έχουν.

thothx-space-eleva_3409340b

Το σχέδιο της καναδικής εταιρείας προβλέπει πως ο «πύργος» της θα αποτελείται από φουσκωτά τμήματα, τα οποία θα συναρμολογηθούν μεταξύ τους. Κατά μήκος θα υπάρχει μια σειρά από περιστρεφόμενα πτερύγια, με περίπλοκη διάταξη ώστε να εξασφαλίζουν πως ο ανελκυστήρας θα αντέχει στα ισχυρά ρεύματα αέρα. Από την άλλη μεριά, οι κάψουλες θα μπορούν να μεταφέρουν βάρος έως και 10 τόνων μέχρι την κορυφή.

Αθλητικά χωρίς κορδόνια που τυλίγονται γύρω από τα πόδια [VIDEO]
Τα πλέον ΠΑΡΑΞΕΝΑ σπίτια στον κόσμο ...σε 2 min video

Από admin